1月18日晚,万众瞩目的2022年医保目录调整工作终于落下了帷幕,新目录正式对外发布。最终121个药品谈判/竞价成功,总成功率达82.3%,平均降幅达60.1%。111个药品新增进入目录,3个国家药监部门注销文号的原目录内药品被调出。2022版医保目录将于2023年3月1日起正式实施。从患者负担看,通过谈判降价和医保报销,本次调整预计未来两年将为患者减负超过900亿元。
平均降幅60.1%!新增111个药品,3个药品被剔除
从谈判/竞价情况看,共计147个药品(含目录内药品续约谈判)参加谈判/竞价,最终121个药品谈判/竞价成功,总成功率达82.3%;从降价幅度看,此次医保谈判平均降幅达60.1%,与2021年基本持平,最大降幅超过90%。
121个药品中有111个为目录外药品:3个非独家药品直接调入,17个非独家药品通过竞价准入方式被调入;91个独家药品通过谈判准入方式被调入。111个新增药品包括慢病药56个、抗肿瘤药23个、抗感染药17个、罕见病药7个、新冠治疗药2个等。通过本轮调整,国家医保药品目录内药品总数达2967种,其中西药1586种,中成药1381种;中药饮片未作调整,仍为892种。2016年至今,国家医保谈判已经进行了七轮,不断优化目录内药品结构和疗效水平,将肿瘤药、慢病药、罕见病药和儿童用药等保障短板逐步补齐。与往年相比,2022年国谈新增品种数量、谈判成功率等均有质的飞越。
表1:2016-2022年国家医保药品谈判情况
来源:国家医保局、国家人社局等,米内网整理
91个独家产品!国产新药、罕见病药、儿童药成绩喜人
111个医保新增药品中,有91个为独家产品(含独家剂型)。国产企业中,恒瑞医药、科伦、天士力、以岭药业等表现亮眼;进口药企中,诺华、武田、默沙东、艾伯维、辉瑞等均有2个及以上的独家品种新增进医保。
此次国家医保谈判继续支持国产重大创新药品进入目录,并全力支持新冠病毒感染治疗药物。20个国产重大创新药品、2个新冠治疗药新增进入医保,其中阿兹夫定片降至11.58元/片/3mg,第十版新冠病毒感染诊疗方案涉及的25个已上市药品中,21个已被正式纳入国家医保目录。
表2:新增进入医保的国产1类新药
来源:国家医保局,米内网整理
17个国产1类新药成功纳入医保,其中10个为化学药、6个为中成药、1个为治疗用生物制品,涵盖PPAR、Bcr-ABL、SGLT2、AR、MET等靶点,适应症以抗肿瘤及消化系统治疗领域为主。
恒瑞医药领跑,有3款1类新药首次被纳入,其中羟乙磺酸达尔西利片是首个国产的CDK4/6抑制剂,脯氨酸恒格列净片是首个国产的SGLT2抑制剂,瑞维鲁胺片是首个国产AR抑制剂。
此外,亚盛医药与信达生物共同开发和商业化推广的奥雷巴替尼片是中国首个、也是目前唯一一款三代Bcr-Abl抑制剂;和记黄埔的赛沃替尼片是国内首个MET抑制剂,也是首个治疗MET外显子14跳跃突变癌症的国产靶向药;罗欣药业的替戈拉生片为国内首个新型钾离子竞争性酸阻滞剂类药物;微芯生物的西格列他钠片为全球首个PPAR全激动剂。
表3:新增进入医保的罕见病药
来源:国家医保局,米内网整理
7个罕见病药新增进入医保,包括兆科药业的肺动脉高压治疗药曲前列尼尔注射液、豪森药业用于治疗视神经脊髓炎的伊奈利珠单抗注射液、诺华用于复发型多发性硬化的奥法妥木单抗注射液、渤健用于复发型多发性硬化的富马酸二甲酯肠溶胶囊等。
米内网数据显示,近年来曲前列尼尔注射液在中国城市公立医院、县级公立医院、城市社区中心以及乡镇卫生院(简称中国公立医疗机构)终端销售额增速惊人,2021年同比增长186.89%,顺利进入医保后将进一步放量。
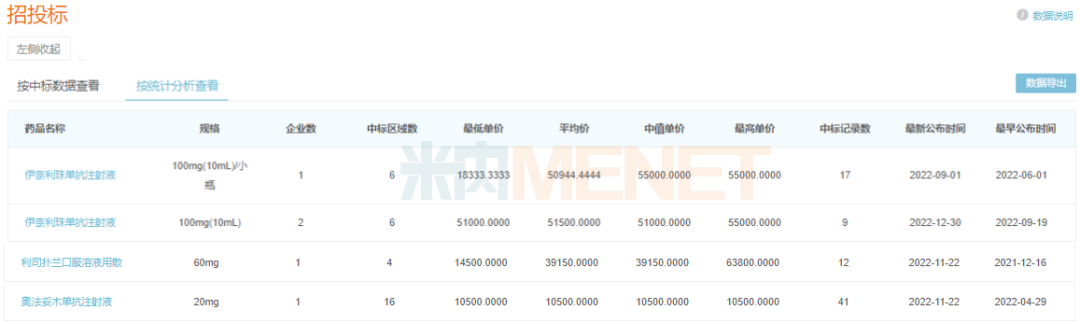
图1:部分罕见病药进保前国内中标价格
来源:米内网新版数据库
豪森药业引进的伊奈利珠单抗注射液是国内首款、也是目前唯一一款获批上市的CD19单抗,用于视神经脊髓炎谱系疾病成人患者的治疗,为该适应症首个纳入国家医保的药品;诺华的奥法妥木单抗注射液属于抗人CD20的全人源免疫球蛋白G1单抗,用于治疗复发型多发性硬化。米内网数据显示,上述2款产品进医保前在国内的最低单价均超过1万元,通过谈判降价进入医保,不仅填补了这些罕见病药的空白市场,更能大幅提高患者的用药可及性。
值得注意的是,尽管罕见病药近两年在医保谈判方面表现出了很高的积极性,但过于高价的药品难题仍然待解,治疗黏多糖贮积症的拉罗尼酶、治疗庞贝病的阿糖苷酶α、治疗戈谢病的伊米苷酶三款年治疗费用超过百万的罕见病药仍无缘医保。
2款独家儿童药成功突围(以通过的申报条件计),分别为四环药业的咪达唑仑口颊粘膜溶液(用于持续的急性惊厥发作)及兆科药业的曲前列尼尔注射液(用于肺动脉高压),其中曲前列尼尔注射液既为罕见病药,又是儿童药。
表4:新增进入医保的独家儿童药
来源:国家医保局,米内网整理
米内网数据显示,咪达唑仑2021年在中国公立医疗机构终端销售额超过7亿元,获批剂型包括片剂、注射剂及口服溶液剂。随着越来越多的适合儿童治疗的专用制剂通过谈判进入医保,无疑是更多儿童患者的一大福音。
20个非独家产品竞价“入保”,7个“亿级”爆款风云再起
“非独家药品竞价”是本次医保谈判的新亮点,引发业界热烈讨论,曾有专家表示结果或将“堪比集采”。早前公布的通过初审名单涉及目录外的非独家产品有41个,最终3个目录外非独家产品直接调入目录,而通过竞价进入目录的目录外非独家产品有17个。
直接调入的非独家产品有盐酸美金刚缓释胶囊、依达拉奉注射液以及注射用替莫唑胺,3个产品均已纳入第七批国采目录。其中,依达拉奉注射液目前已获得批文的企业超过20家,2021年在中国公立医疗机构终端的销售额超过7亿元。随着第七批国采在2022年四季度落地执行,叠加新版医保目录在2023年3月1日起实施,依达拉奉注射液这个昔日爆款即将迎来新的命运转折点。
17个竞价“入保”的非独家产品中,泊沙康唑肠溶片、泊沙康唑注射液以及注射用福沙匹坦双葡甲胺均是《第一批鼓励仿制药品目录》产品,而复合磷酸氢钾注射液则是基药目录产品。
从销售情况来看,复合磷酸氢钾注射液、哌柏西利胶囊、舒更葡糖钠注射液、碳酸氢钠林格注射液、托伐普坦片、注射用福沙匹坦双葡甲胺6个产品2021年在中国公立医疗机构终端均是销售额超过1亿元的畅销产品,其中复合磷酸氢钾注射液涉及企业达10家,舒更葡糖钠注射液涉及9家企业,本次竞价“入保”后各企业间的市场争夺战将愈加激烈。
表5:“入保”非独家产品TOP5集团
整体来看,20个新“入保”的非独家产品若按集团统计,科伦药业涉及6个产品,齐鲁制药涉及5个产品,扬子江药业、奥赛康、正大制药均涉及4个产品。
附表:2022年国家医保药品目录新增产品情况
来源:国家医保局官网、米内网数据库
